G-nstige-Gebrauchte-bis-5-000-Euro-Reichen-5-000-Euro-f-r-ein-solides-Auto-

Günstige Gebrauchte bis 5.000 Euro: Reichen 5.000 Euro für ein solides Auto?

vor einer Stunde - auto-motor-und-sport.de

Foto: Hersteller, H.D. Seufert, A. Jüngling 20 Bilder Gleich nach dem Wohnen findet sich das Auto als einer der größten Kostenpunkte, die viele im Leben mit sich rumtragen. Dabei gibt’s nur wenige glückliche...weiterlesen »

Mercedes-AMG-Pure-Speed-Coup-Limitierter-V8-CLE-zum-Millionen-Preis

Mercedes-AMG Pure Speed Coupé: Limitierter V8-CLE zum Millionen-Preis

vor 3 Stunden - auto-motor-und-sport.de

Foto: Mercedes 24 Bilder Das Fahrzeug absolvierte zuletzt umfangreiche Kältetests nahe dem Polarkreis und soll nach AMG-Diktion für einen "kompromisslosen Auftritt" sorgen. Konkrete technische Daten nennt...weiterlesen »

R-ckruf-Honda-E-NY1-Elektroauto-vergisst-Gesamtkilometerstand

Rückruf Honda E-NY1: Elektroauto vergisst Gesamtkilometerstand

vor 3 Stunden - auto-motor-und-sport.de

Foto: Honda 6 Bilder Nach Angaben des Kraftfahrtbundesamts (KBA) muss der japanische Autobauer Honda weltweit 52.854 Autos vom Typ E-Ny1 zurückrufen. An den Elektro-SUV-Modellen aus dem Bauzeitraum 2022...weiterlesen »

Jaguar-erw-gt-wohl-neuen-Antrieb-f-r-GT-Modell-Bringt-Geheim-Initiative-doch-einen-Verbrenner-

Jaguar erwägt wohl neuen Antrieb für GT-Modell: Bringt „Geheim-Initiative“ doch einen Verbrenner?

vor 4 Stunden - auto-motor-und-sport.de

Foto: Jaguar 26 Bilder Seit Dezember 2024 ist bei Jaguar nichts mehr, wie es einmal war. Die britische Traditionsmarke zeigte damals nicht nur die verwegen designte Studie Concept 00 als ersten Hinweis...weiterlesen »

Kein-Verbrenner-Aus-BMW-baut-V8-und-V12-weiter-Teile-auch-in-M-nchen

Kein Verbrenner-Aus: BMW baut V8 und V12 weiter - Teile auch in München

vor 4 Stunden - auto-motor-und-sport.de

Foto: Rossen Gargolov Während BMW mit der "Neuen Klasse" seine elektrische Zukunft längst begonnen hat, sind bei dem Konzern auch große Verbrennungsmotoren noch lange kein Auslaufmodell. Ein Sprecher stellt...weiterlesen »

Massimo-Frascella-wettert-gegen-Riesenbildschirme-XXL-Screens-Audis-Design-Boss-hat-was-dagegen

Massimo Frascella wettert gegen Riesenbildschirme: XXL-Screens? Audis Design-Boss hat was dagegen

vor 6 Stunden - auto-motor-und-sport.de

Foto: Mercedes-Benz AG / Audi AG / Collage: ams 8 Bilder Manche Trends in der Autoindustrie scheinen sich nicht aufhalten zu lassen. Aktuell wirkt es so bei einem vorherrschenden Aspekt im Innenraum: Werden...weiterlesen »

Audi-Designchef-Fraschella-im-Interview-Wie-geht-ein-neuer-A2-mit-Single-Frame-

Audi-Designchef Fraschella im Interview: Wie geht ein neuer A2 mit Single-Frame?

vor 6 Stunden - auto-motor-und-sport.de

11 Bilder Frascella empfängt in seinem Büro im Audi-Werk. Die Anreise legten die auto-motor-und-sport-Redakteure passenderweise im Land Rover Defender zurück – für dessen Design zeichnete Frascella bei...weiterlesen »

Rekordjahr-f-r-die-Mercedes-G-Klasse-Was-steckt-hinter-dem-Absatzplus-

Rekordjahr für die Mercedes G-Klasse: Was steckt hinter dem Absatzplus?

vor 6 Stunden - auto-motor-und-sport.de

Foto: Hersteller Die G-Klasse erreichte 2025 mit 49.700 verkauften Exemplaren einen neuen Allzeit-Rekord. Dies entspricht einem Zuwachs von 23 Prozent im Vergleich zum Vorjahr. Besonders bemerkenswert...weiterlesen »

Zunehmende-Probleme-mit-lteren-Plug-in-Hybriden-Wer-repariert-meinen-PHEV-g-nstig-

Zunehmende Probleme mit älteren Plug-in-Hybriden: Wer repariert meinen PHEV günstig?

vor 7 Stunden - auto-motor-und-sport.de

Foto: Bosch (5), Wiesinger (5) 10 Bilder Die erste Generation der Plug-in-Hybridfahrzeuge erreicht inzwischen ein Alter, in dem sich technische Defekte häufen. Mit zunehmender Laufleistung und Alter treten...weiterlesen »

Namenswechsel-des-VW-ID-4-in-ID-Tiguan-Rettung-f-r-die-ID-Reihe-oder-nur-Kosmetik-

Namenswechsel des VW ID.4 in ID. Tiguan: Rettung für die ID-Reihe oder nur Kosmetik?

vor 7 Stunden - auto-motor-und-sport.de

Foto: Volkswagen AG Volkswagen verabschiedet sich zunehmend von der Zahlenlogik seiner ID-Reihe. Nach dem ID. Polo, der ursprünglich als ID.2 angekündigt wurde, folgt nun der ID. Tiguan. Laut VW-Chef Thomas...weiterlesen »

Was-ist-erlaubt-was-nicht-Herstellerregeln-zur-Starthilfe-bei-E-Autos

Was ist erlaubt, was nicht?: Herstellerregeln zur Starthilfe bei E‑Autos

vor 7 Stunden - auto-motor-und-sport.de

Foto: Torsten Seibt Auch Elektroautos verfügen über eine 12-Volt-Batterie, die das Bordnetz versorgt. Diese Batterie ist unabhängig von der Antriebsbatterie und kann durch Alterung oder lange Standzeiten...weiterlesen »

Man-vrierunf-hig-vor-Borkum-Brand-legt-Auto-Frachter-mit-1-300-Autos-lahm

Manövrierunfähig vor Borkum: Brand legt Auto-Frachter mit 1.300 Autos lahm

vor 7 Stunden - auto-motor-und-sport.de

Foto: dpa/Picture Alliance Das Havariekommando koordinierte den Großeinsatz, bei dem mehrere Schiffe, Hubschrauber und Spezialteams beteiligt waren, darunter der Bergungsschlepper "Nordic", das Mehrzweckschiff "Mellum" sowie einweiterlesen »

Rivian-patentiert-digitalen-Offroad-Guide-Virtueller-Assistent-hilft-Dir-Offroad

Rivian patentiert digitalen Offroad-Guide: Virtueller Assistent hilft Dir Offroad

vor 7 Stunden - auto-motor-und-sport.de

Foto: Rivian / United States Patent and Trademark Office Rivian hat ein Patent für ein Offroad-Navigations- und Fahrsystem beantragt. Dabei muss sich nicht mehr der Fahrer allein an das Gelände herantasten,...weiterlesen »

Neuer-Renault-Duster-Kein-Duster-der-hier-ist-Premium

Neuer Renault Duster : Kein Duster, der hier ist Premium

vor 7 Stunden - auto-motor-und-sport.de

Foto: Renault Mit dem International Game Plan 2027 will sich der französische Autobauer Renault auf weltweiten Märkten neu aufstellen und reichlich Wachstum generieren. Teil dieses Plans ist der neue Renault...weiterlesen »

Video-Battle-zwischen-Mobile-und-Langeoog-Zum-Gl-ck-lebst-du-nicht-auf-Langeoog-

Video-Battle zwischen Mobile und Langeoog: „Zum Glück lebst du (nicht) auf Langeoog“

vor 8 Stunden - auto-motor-und-sport.de

Foto: Screenshots Mobile und Langeoog / Collage: Wittich Auf die provokante Kampagne der Autobörse Mobile.de über das Leben ohne Autos reagiert die Nordseeinsel mit einem Augenzwinkern und liefert dabei...weiterlesen »

Blaupunkt-Wolfsburg-648-2-DIN-Autoradio-Apple-Carplay-und-DAB-Radio-f-r-Golf-6-Co-

Blaupunkt Wolfsburg 648 2-DIN Autoradio: Apple Carplay und DAB-Radio für Golf 6 & Co.

vor 8 Stunden - auto-motor-und-sport.de

Foto: Hersteller 3 Bilder Blaupunkt erweitert sein Portfolio für klassische Fahrzeuge um ein neues 2-DIN-Autoradio für Youngtimer. Das Wolfsburg 648 kombiniert ein an Serienradios der späten 2000er-Jahre...weiterlesen »

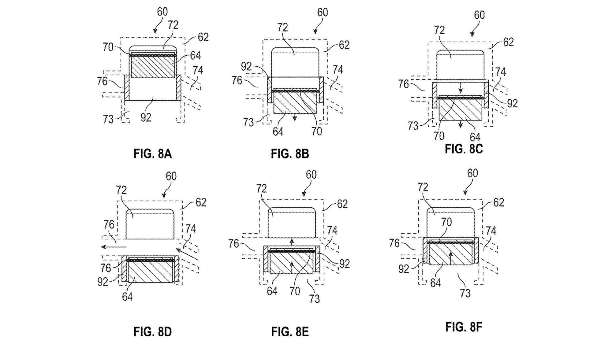
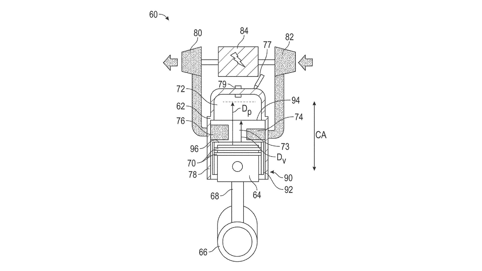
Patent-zeigt-echte-Kn-pfe-Selbst-Rivian-pr-ft-echte-Tasten

Patent zeigt echte Knöpfe: Selbst Rivian prüft echte Tasten

vor 9 Stunden - auto-motor-und-sport.de

Foto: Rivian / United States Patent and Trademark Office Rivian hat ein Patent eingereicht, das Rückschlüsse auf mögliche künftige Innenraumkonzepte zulässt. In den Zeichnungen sind erstmals physische...weiterlesen »

Gigastamping-n-chster-Schritt-zum-Wegwerfauto-Werden-Autoteile-bald-gestempelt-

Gigastamping - nächster Schritt zum Wegwerfauto?: Werden Autoteile bald gestempelt?

vor 9 Stunden - auto-motor-und-sport.de

Foto: Gestamp In den letzten Jahren galt das Mega- oder Gigacasting-Verfahren als revolutionäre Neuheit im Automobilbau. Mit diesem neuen Fertigungsverfahren (siehe Video nach dem vierten Absatz) werden...weiterlesen »

Volvo-T-ren-ohne-echte-Griffe-aber-elektrisch-Schweden-SUV-mit-Finnen-genial-oder-gef-hrlich-

Volvo-Türen ohne echte Griffe, aber elektrisch: Schweden-SUV mit Finnen – genial oder gefährlich?

vor 9 Stunden - auto-motor-und-sport.de

Die sogenannten Winglets mit elektrischen Tastern zur Türöffnung am neuen Volvo EX60 machen die Seitenlinie sehr clean – das gefällt nicht nur den Designern. Außerdem verbessert das Fehlen großer exponierter...weiterlesen »

Lamborghini-Versuchstr-ger-mit-Bugatti-Motor-12-Zylinder-sind-f-r-diesen-Diablo-nicht-genug

Lamborghini-Versuchsträger mit Bugatti-Motor: 12 Zylinder sind für diesen Diablo nicht genug

vor 11 Stunden - auto-motor-und-sport.de

Foto: Chris Franjkovic / Autostadt GmbH 9 Bilder In den späten 1990er-Jahren befand sich der Volkswagen-Konzern auf einem massiven Expansionskurs. Im Sommer 1998 übernahmen die Wolfsburger über ihre Tochter Audi den italienischenweiterlesen »

Bio-Sprit-EU-stuft-Soja-l-als-Risiko-ein

Bio-Sprit: EU stuft Sojaöl als Risiko ein

vor 12 Stunden - auto-motor-und-sport.de

Foto: Christian Gebhardt, Jonas Greiner, Gabriel Richter, Arturo Rivas, Hans-Dieter Seufert, Marcus Schurig Nach einem neuen Entwurf der EU-Kommission soll der Stoff als "hohes Risiko" für Landnutzungsänderungen...weiterlesen »

Peter-Falk-verstorben-Rennleiter-Ingenieur-Rallyefahrer

Peter Falk verstorben: Rennleiter, Ingenieur, Rallyefahrer

vor 23 Stunden - auto-motor-und-sport.de

Foto: Porsche Als er 1959 bei Porsche anfängt, ist Peter Falk einer von zehn Mitarbeitern im Fahrversuch. Es ist die Zeit, als der Wechsel vom 356 zum 911 ansteht. Die Sportwagenikone wird der Ingenieur...weiterlesen »

K-nftig-auch-bei-Opel-Stellantis-patentiert-selbstl-schende-Batterie

Künftig auch bei Opel?: Stellantis patentiert selbstlöschende Batterie

vor einem Tag - auto-motor-und-sport.de

Foto: United States Patent and Trademark Office Der Autokonzern Stellantis hat beim US-Patentamt USPTO (United States Patent and Trademark Office) ein Patent für ein integriertes System zur Unterdrückung...weiterlesen »

Ferrari-Rekordpreise-bei-Mecum-in-Kissimmee-15-Millionen-Euro-f-r-diesen-gelben-Enzo

Ferrari-Rekordpreise bei Mecum in Kissimmee: 15 Millionen Euro für diesen gelben Enzo

vor einem Tag - auto-motor-und-sport.de

Foto: Mecum Auctions 12 Bilder Rund 4.000 Sammlerfahrzeuge wechselten bei Mecum Kissimmee 2026 den Besitzer – darunter etwa 400 Corvette, knapp 100 Chevelle und mehr als 170 Mustang. Auch hochpreisige...weiterlesen »

Meistverkaufter-Plug-in-Hybrid-kommt-aus-China-BYD-profitiert-von-PHEV-F-rderung-und-berholt-VW

Meistverkaufter Plug-in-Hybrid kommt aus China: BYD profitiert von PHEV-Förderung und überholt VW

vor einem Tag - auto-motor-und-sport.de

Foto: Achim Hartmann 16 Bilder Bei der Vorstellung der neuen staatlichen Förderung für Privatkäufer von Elektroautos und Plug-in-Hybriden sprach Bundesumweltminister Carsten Schneider davon, die heimische...weiterlesen »

Strafverfolgung-wegen-Defeat-Devices-eingestellt-Trump-erteilt-Freifahrtschein-zur-Abgasmanipulation

Strafverfolgung wegen „Defeat Devices“ eingestellt: Trump erteilt Freifahrtschein zur Abgasmanipulation

vor einem Tag - auto-motor-und-sport.de

Foto: Albany Times Union/Hearst Newspapers via Getty Images Die Regierung unter US-Präsident Donald Trump setzt ihren Kurs offenbar unvermindert fort, allmählich die Abgasvorschriften in den Vereinigten...weiterlesen »

Bestellstopp-beim-Mercedes-G-580-EQ-War-es-das-schon-f-r-den-elektrischen-Mercedes-G-

Bestellstopp beim Mercedes G 580 EQ: War es das schon für den elektrischen Mercedes G?

vor einem Tag - auto-motor-und-sport.de

Foto: Achim Hartmann 17 Bilder Für die G-Klasse von Mercedes war 2025 ein absolutes Rekordjahr. Mit weltweit 49.700 ausgelieferten Fahrzeugen erreichte die Baureihe den höchsten Absatz seit ihrer Einführung...weiterlesen »

Ford-ernennt-neuen-Europa-Chef-Neue-Hoffnung-im-Pkw-Gesch-ft-

Ford ernennt neuen Europa-Chef: Neue Hoffnung im Pkw-Geschäft?

vor einem Tag - auto-motor-und-sport.de

Foto: Ford/Collage von ams Weingärtner übernimmt die neu geschaffene Position des General Manager Passenger Vehicles bei Ford Europa. Das teilte der Hersteller am Donnerstag, dem 22. Januar 2026, mit....weiterlesen »

Todesfalle-mit-Sattelauflieger-auf-Autobahn-Will-hier-jemand-Autofahrer-t-ten-

Todesfalle mit Sattelauflieger auf Autobahn: Will hier jemand Autofahrer töten?

vor einem Tag - auto-motor-und-sport.de

Foto: Polizei Bremen Diese Art der Blockaden ist nicht der erste Fall, Staatsanwaltschaft und Polizei ermitteln nun wegen eines versuchten Tötungsdelikts und haben eine Ermittlungsgruppe eingerichtet....weiterlesen »

Bertone-Runabout-2026-So-Keil-kann-Sportwagen-sein

Bertone Runabout 2026: So Keil kann Sportwagen sein

vor einem Tag - auto-motor-und-sport.de

Foto: Bertone 12 Bilder Mitte Oktober 2024 kündigte die italienische Designschmiede Bertone über Linkedin ein neues Sportwagenprojekt an. Die 1969 vorgestellte Designstudie Runabout sollte zu einem Kleinserienmodell...weiterlesen »

Mehr
KLICKEN